2019年中共黑龙江省委党校硕士研究生招生简章
为进一步提高中青年党政干部的理论素质,培养具有坚实的马克思主义理论基础、较高专业知识水平和较强党性修养的党政干部,根据《中国共产党党校工作条例》有关精神,中共黑龙江省委党校经报请省委组织部批准,决定招收2019年在职研究生。
一、招生专业
经济管理、公共管理、社会管理、法学理论
二、学制、培养方式和毕业
学制三年(2019年3月-2022年1月)。学习采取集中面授和在职自学相结合的方式进行。学员学完规定课程、考试合格并通过毕业答辩者,颁发中共黑龙江省委党校研究生毕业证书,取得研究生学历。
三、招生对象、报考条件和报名方式
(一)招生对象:党政机关和企事业单位在职党员干部。
(二)报考条件:大学本科学历;坚持党的基本路线,品德良好,
遵纪守法,身体健康;有三年以上实际工作经历。
(三)报名方式:考生自愿报名与组织人事部门推荐相结合。
四、报名时间和办法
报名时间截止至2018年7月3日。
符合报考条件者,报名时须携带下列材料:1、报名登记表一式两份(从中共黑龙江省委党校网站自行下载,用B5纸张正反面打印,或到所报名的教学点领取);2、1寸近照4张;3、大学本科毕业证原件及复印件;4、身份证复印件(贴在报名登记表上);5、党员(含预备党员)证明;6、单位介绍信(必填内容包括本人的干部身份、行政职务、行政级别等)。
五、考试时间和考试科目
(一)考试时间:2018年10月20日(星期六)。
(二)考试科目:
1.经济管理专业:政治理论、管理学
2.公共管理专业:政治理论、公共管理学
3.社会管理专业:政治理论、社会管理理论
4.法学理论专业:政治理论、法学综合
六、录取办法和具体政策规定
(一)录取办法:根据考试成绩和政审情况,全面衡量,择优录取。达到录取标准者,发给录取通知书。
(二)具体政策规定:对符合下列条件之一者,在同等条件下优先录取。
(1)省部级劳动模范、先进工作者(优秀公务员)、科技进步(成果)奖获得者;
(2)“五一劳动奖章”、“三八红旗手”称号获得者。
上述条件须提供相关材料原件,以在报名验证时审核认定为截止时间,录取时不再受理此项事宜。
2019年不招收免试生,所有的考生都必须参加入学考试。
七、收费标准
按照省物价监督管理局、省财政厅《关于省委党校行政事业性收费标准及有关问题的批复》(黑价联字[2016]51号)文件规定,2019年党校在职研究生招生有关费用和具体收费标准如下:
(一)学费和教材费。四个专业学费标准均为每生、每学年5000元,三年共计15000元;收取三年教材费为1000元。
(二)报名考务费。报名考务费每生收取100元。录取费每生收取50元。
八、招生咨询电话、报名地点
联系人:徐老师咨询电话:(0451)85951796
校本部报名地点:省委党校2号楼三楼307室(南岗区延兴路49号)。
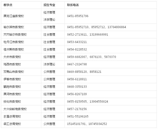
2019级省委党校招生报名各教学点咨询电话

2025考研人数达388w,考研热度依旧火热!如何备战2026考研?哪个考研专业适合自己?在职考生如何备考?考研知识点繁多,择校困难大,和海天考研咨询老师聊一聊。网课面授多项选,专业辅导1对1,全年集训随时学!




